Контакты:
Украина г. Харьков, 61001
пл. Героев Небесной Сотни, д. 7
+38 (057) 732-00-71
+38 (063) 760-33-77
+38 (093) 307-99-49
Воздушные компрессоры
Запчасти компрессоров
Подготовка воздуха
Пневматическое оборудование
Аренда компрессоров
Быстроразъемные нажимные соединения
Быстроразъемные соединения для труб
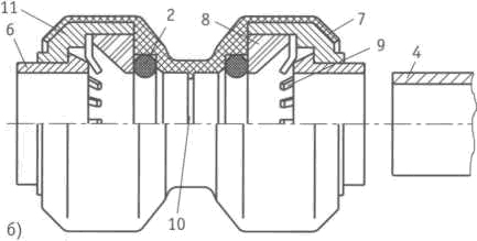
На рис. 1 показаны быстроразъемные соединения для алюминиевых и пластиковых труб, которые просто вставляются до упора, но могут быть также легко вытащены. Конец трубы должен быть ровным. Такие соединения при монтаже не требуют никакого инструмента.
Рис. 1 - Быстроразъемные соединения для труб
а) Цанговый вставной штуцер (Festo)
б) Вставной штуцер (Schneider)
(1 - Уплотнительное кольцо, 2 - Маслостойкое 0-образное кольцо, 3 - Удерживающий выступ, 4 - Труба, 5 - Корпус с наружной резьбой, 6 - Разъединительное кольцо, 7 - Металлический корпус, 8 - Вставка, 9 - Зубчики из нержавеющей стали, 10 - Упор, 11 - Поддерживающая втулка, 12 - Удерживающий элемент, выполненный из РОМ с нержавеющими зубчиками)
Быстроразъемные соединения цангового типа дороже, чем сварные или клеенные. Но они дают много выгод:
• Быстрая сборка (это часто компенсирует большие затраты на элементы).
• Не нужен квалифицированный или опытный персонал.
• Соединения могут использоваться многократно.
• Расширение или переделка системы не вызывает никаких проблем.
• Неправильную сборку можно легко исправить.


