Контакты:
			
	Украина г. Харьков, 61001
пл. Героев Небесной Сотни, д. 7
+38 (057) 732-00-71
+38 (063) 760-33-77
+38 (093) 307-99-49
Воздушные компрессоры
Запчасти компрессоров
Подготовка воздуха
Пневматическое оборудование
Аренда компрессоров
Датчик точки росы
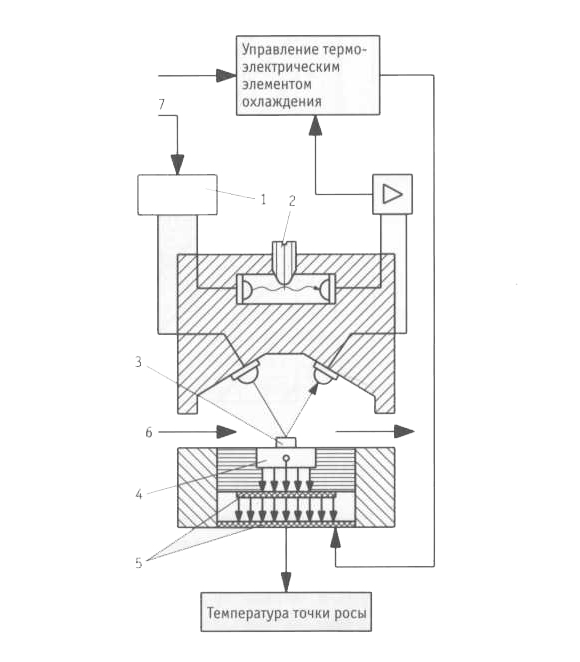
  Точку росы можно измерять с помощью так называемого метода зеркала. Он основан на физических взаимоотношениях между температурой конденсации водяных паров и содержании водяных паров в газовой смеси. Зеркало из нержавеющей стали охлаждается с помощью элемента Пелтьера до момента, когда начинается конденсация водяных паров. Оптоэлектронная система управления с замкнутым контуром определяет появление капелек конденсата по изменению интенсивности отраженного от зеркала света. В зависимости от интенсивности конденсата система изменяет силу тока. Точка росы достигается, когда конденсация и испарение находятся в балансе. Эта температура измеряется очень чувствительным датчиком, таким как Pt100 (платиновый датчик с сопротивлением 100 Ом при 0 °С). Базовая структура датчика точки росы показана на рис. 1.
  
    Рис. 1 - Датчик точки росы
    (1 - контроллер светодиодов, 2 - управление оптического баланса, 3 - зеркало, 4 - датчик температуры, 5 - охладительный элемент (элемент Пелтьера), 6 - воздушная или газовая смесь, 7 - электропитание)
  
